Ремонт и эксплуатация автомобилей Пежо
Peugeot 206 Пежо 307, Пежо 206 Эксплуатация и неисправности
Peugeot 307

Ремонт Пежо 307 >> Электро-оборудование >> Стеклоподъемники >> Замена стеклоподъемника задней двери на автомобилях с кузовом универсал (SW)
Для снятия стеклоподъемника задней двери на автомобилях с кузовом универсал (SW):
- опустите стекло двери до нижнего упора;
- отсоедините провод «массы» от аккумуляторной батареи;

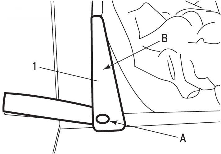
Рис. 9.47. Использование пластикового шпателя для снятия заднего декоративного элемента (1): А и В — фиксаторы, расположенные под задним декоративным элементом



- с помощью пластикового шпателя снимите задний декоративный элемент 1, освободив его из фиксаторов в точке A ( рис. 9.47 ), затем в точке B;
- снимите обивку двери;
- снимите пылевлагозащитную пленку, закрывающую внутреннюю сторону задней двери;

Рис. 9.48. Снятие внутреннего нижнего уплотнителя (1) оконного проема двери



- снимите внутренний нижний уплотнитель оконного проема двери 1 ( рис. 9.48 ), потянув его вверх;

Рис. 9.49. Начальная точка (А) и направление снятия уплотнителя стекла



- снимите направляющий уплотнитель стекла, начиная с левого угла А ( рис. 9.49 ) и далее по часовой стрелке;

Рис. 9.50. Расположение гаек (2) крепления кулисы (1) стекла



- выверните гайки 2 ( рис. 9.50 ) крепления кулисы 1 стекла;

Рис. 9.51. Расположение болтов (1) крепления стекла, видимых через отверстия (А)



- опустите стекло до появления болтов 1 крепления стекла в отверстиях A ( рис. 9.51 );
- через отверстия в двери выверните 2 болта крепления стекла к стеклоподъемнику;
- руками поднимите стекло вверх до упора и закрепите его в этом положении липкой лентой;
- опустите стеклоподъемник в крайнее нижнее положение;

Рис. 9.52. Крепление стеклоподъемника задней двери на автомобилях SW: 1 — электрический разъем; 2 — заклепки; 3 — жгут проводов; А — направление снятия стеклоподъемника; В — отверстие в двери для извлечения стеклоподъемника



- отсоедините электрический разъем 1 ( рис. 9.52 ) от стеклоочистителя;
- отведите в сторону жгут проводов 3;
- сверлом диаметром 10 мм высверлите заклепки 2 (см. рис. 9.52 ) крепления стеклоподъемника к двери;
- переместите механизм стеклоподъемника вверх в направлении стрелки А, затем внутрь двери;
- снимите стеклоподъемник через отверстие В в задней части двери;
- высверлите оставшиеся части заклепок из стеклоподъемника;
- продуйте внутреннее пространство двери, чтобы удалить стружку после сверления заклепок.
Установку проводите в последовательности, обратной снятию, с учетом следующего:
- при установке заклепок примите меры по защите двери;
- закрепите пылевлагозащитную пленку, которая должна устанавливаться без складок и разрывов;
- поверхность, на которую приклеивается пылевлагозащитная пленка, должна быть идеально чистой;
- направляющий уплотнитель стекла необходимо начинать устанавливать с верхнего заднего угла;
- подсоедините провод «массы» к аккумуляторной батарее;
- проверьте работоспособность стеклоподъемника;
- инициируйте все электронные системы.

Рекомендуем:3.